距离开展还有

234

燃爆了(水泥不合格的原因是什么)不合格的水泥会出现什么情况,

近日,多地通报了水泥抽检质量不合格的消息,综合来看,抗压、抗折强度及氯离子不合格为“重灾区”,32.5水泥标号也多“榜上有名”。广西、江西、浙江、山东区域内不合格品标称企业多为单体粉磨站。广东省广东云浮抽检两家广西地区粉磨站32.5标号水泥抽检强度不合格

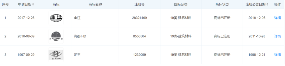
据查询,广西梧州市万凌水泥有限公司生产许可证编号XK08-001-02840,有效期至2025年3月12日。企业类型为粉磨站,拥有一条粉磨生产线,关键设备为Φ3.5×13m水泥磨机1台。

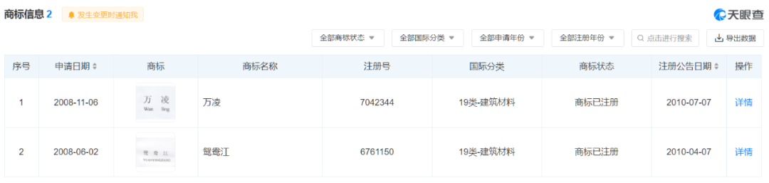
企业商标注册信息显示,旗下共有“万凌”和“鸳鸯江”两个注册品牌,并没有不合格品所列的“粤华水泥”注册商标。

据查询,拥有“粤华”注册商标的佛山市三水长力恒盛水泥有限公司目前处于“注销”状态。另一家英德市粤华水泥有限责任公司虽名为“粤华水泥”但无此注册商标。

长虹(广西北流)水泥有限公司生产许可证编号XK08-001-03183,有效期至2023年11月13日,企业类型为粉磨站,拥有一条粉磨生产线,关键设备为Φ3.2×13m水泥磨机一台。企业注册商标中有“海都”品牌,商标为已注册状态。

山东省山东省滨州流通领域抽检同一家企业两批次水泥氯离子不合格

山东省滨州市市场监管局公布2022年水泥产品质量市级监督抽查结果。本次抽检20批次水泥产品,标称为同一家生产企业2批次“永固”牌P.S.A32.5水泥抽检氯离子不合格。

水泥人网注意到,工商注册信息中无“永固新型建材有限公司”的相关注册信息。拥有“永固”商标的山东永固建材科技有限公司目前状态为“吊销“,永固商标为无效状态。

多家粉磨企业四批次水泥不合格

亳州市市场监管局市级水泥产品质量监督抽查结果显示,淮北相丰水泥有限责任公司、山东江河水泥有限公司水泥企业四批次32.5标号水泥不合格。不合格项目均为28d抗压强度、氯离子。山东成武泰丰水泥有限公司矿渣硅酸盐水泥一个批次复检合格。

淮北相丰水泥有限责任公司生产许可证编号〔皖〕XK08-001-00069,有效期至2027年12月21日,生产类型为粉磨站;企业拥有2条粉磨生产线;关键设备为Φ3.2×13m水泥磨机2台。“相海”商标已注册。

山东江河水泥有限公司生产许可证编号(鲁)XK08-001-05307,有效期至2027年1月8日,企业类型为粉磨站;企业拥有1条粉磨生产线;关键设备为Φ3.2×13m水泥磨机1台;企业“恒诚”商标已注册。

江西省级抽检一批次水泥不合格,生产许可证无效

江西省市场监督管理局对全省水泥产品质量进行了监督抽查。经检验,不合格产品1批次,涉及的不合格项目为28天抗压强度。不合格标称生产单位为萍乡市均塘水泥厂普乐夫牌M32.5水泥。

据查询,萍乡市均塘水泥厂生产类型为粉磨站,生产许可证编号为XK08-001-02502。该编号生产许可证有效期截止到2021年7月14日,目前已处于无效状态。且“普乐夫”品牌亦非该企业自有。 

据查询, 因生产销售不合格水泥萍乡市均塘水泥厂被罚没人民币25500元。

违法事实是,当事人生产销售的砌筑水泥(生产日期2021年12月22日)“28天抗压强度”为29.0MPa,不符合GB/T 3183-2017《砌筑水泥》国家标准规定的“28天抗压强度”≧32.5MPa,被判定为不合格。

根据当事人提供的相关证据材料以及陈述确认:2021年12月22日,当事人共生产砌筑水泥(规格型号:M32.5)30吨,生产成本310元/吨。至2022年3月16日止,当事人以400元/吨的价格将上述不合格产品向周边群众销售完毕,其用途主要为粉刷,护坡,修筑水渠,上述不合格产品的货值金额12000元,违法所得2700元。

浙江杭州三个批次M32.5水泥不合格品,其中两个批次为假冒产品

浙江杭州市市场监管局抽检发现三个批次不合格水泥产品,不合格项目分别为,3d抗折、3d抗压、28d抗压以及强度不合格。不合格产品中有两个批次为假冒产品。

杭州市江干区黄保海五金店和杭州市钱塘区吴彬建材店抽检到两批次M32.5水泥为假冒产品,主要不合格项目为3d抗折、3d抗压、28d抗压;杭州富阳康亚建材商行M32.5水泥,标称生产者为江西省九峰建材有限公司主要不合格项目为强度。

新疆通报6批次42.5水泥不合格,涉及一家全能水泥厂

新疆维吾尔自治区通报,生产领域抽查了74家企业的90批次产品,检出6批次产品不合格,不合格项目为氯离子。

不合格水泥中包括昌祥、圣雄、三川、新山牌、天汇等五个品牌,其中新疆圣雄水泥有限公司为全能水泥厂。

值得注意得是,取消32.5标号水泥生产和销售后,新疆区域42.5水泥质量问题被公开通报,不合格项目均为氯离子。此类不合格多为企业在生产水泥的过程中为提高产品强度而过量添加“助剂”导致。不得不让人质疑32.5水泥变42.5水泥操作工艺仅是多加了“助剂”一道工序?

综上,19个批次不合格品中,10个批次强度不合格,9个批次氯离子不合格。不合品有11个批次是在流通领域被发现,8个批次为生产领域抽检发现。其中包括32.5标号水泥12个批次,42.5水泥7个批次。不合格品中不仅包含高仿品牌、无效注册商标,还存在两批次“假冒产品”。

来源:水泥人网,转载请注明出处,如未经许可或未注明出处,将追究法律责任。

点击水泥人网e价格 了解采购、价格信息!

点击了解更多水泥现货价格

相关阅读

海螺、华润、金峰多家水泥厂发生事故!

突发!一水泥厂窑炉爆炸!死伤不明!

重磅!水泥质量标杆100强企业即将发布!

中国建材、海螺、金隅冀东高层集体表态!

又出事!92死31伤!工地事故何时休!

错了!取消32.5水泥!与低碳唱“反调”!

大动作!海螺水泥大区撤销!高薪招人!

揭秘!2022年水泥市场走势……

因未建立这一制度,某水泥企业被罚10万元!

围观:华新亿吨机制砂石项目的“秘密武器”!

揭秘!红狮水泥港口散货作业的利器来了!

全球首条利用钢渣在水泥窑做碳捕集投产了!

海螺、华新、红狮等水泥厂节能降耗这么做!

天山、海螺、华润等是怎么解决结皮严重的!

降煤耗显著!富氧燃烧技术应用最新进展!

注明:本文章来源于互联网,如侵权请联系客服删除! 2022成都国际砂石、尾矿及建筑废弃物处理技术与装备展览会-www.sszexpo.com

上海泛国展览有限公司

2019620533@qq.com

18611273069

法律信息 |隐私数据保护 | © 2021
沪ICP备2021023001号-3